科普工作

当前位置:首页 > 科普工作 > 科技成果直通车
科普工作

CPS商用空调智能云平台

时间:2023-02-21    来源:浙江大学滨海产业技术研究院

返回

随着新一代信息技术与制造业融合发展不断加快、产业发展迅猛,国家对工业互联网和智能制造提出了新要求新任务,创造了新机遇。目前国内家用空调行业在智能化、数字化方面已达到一定实用水准。与家用空调不同,企业空调除了提供舒适的办公环境以外,其性质已经逐渐转变为“生产设备”(如半导体、医药、数据中心、精密加工等应用场景)。针对商用空调的智能化推进,更大程度上依赖于各应用行业对各自的生产流程的需求,而不像个人用户对室内温湿度的单一需求。当前商用空调设备管理存在哪些痛点?针对这些痛点,我们做了哪些科研探索,大家一起来了解一下吧~



商用空调设备管理痛点


图片


图片

空调智能系统在数据中心的需求实例


科技创新
图片
图片

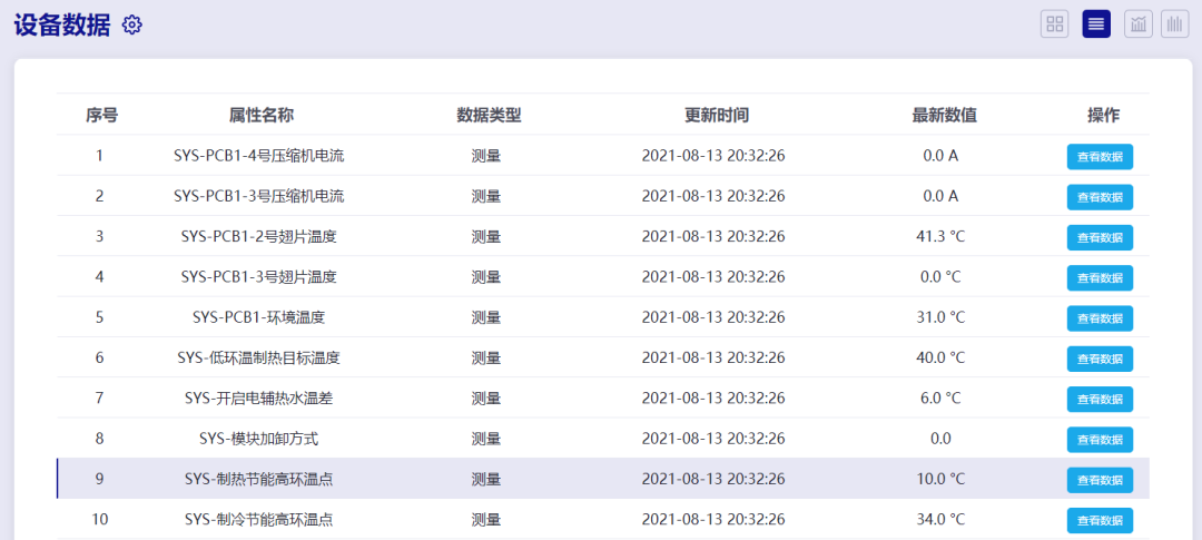
  我院空调智能控制研究中心研发的CPS商用空调智能云平台是针对企业空调系统的智能控制、节能控制所研发的应用系统。利用传感技术对商用中央空调设备进行健康监控,可以结合室外以及跟踪中央空调设备的实时数据,通过网络把数据汇聚到云平台的数据分析中心进行处理,能有效地进行设备故障诊断、预测,快速、精确地定位故障原因,提高维护效率,降低维护成本,赋能用户团队,获得数据分析、优化运营及节能增效的能力。

图片


直击实际问题

问题一、空调设备广域分散,系统运维及故障修复成本高。  

解决方案:实时多元(热力学+IoT)/双向智能检控,降低运维成本,系统故障率 。

问题二、气流/冷量从动式自控,依赖人为判断操作,无用能耗无法及时消除。

解决方案:采用系统负载动态时空检测(人/物/外气),空间热力模型,降低无用能耗(宾馆空房,办公楼会议室,医院诊疗室,手术室,生产车间,数据中心轻载运行)、人工误差及成本。

问题三、空调系统相对独立,无法与生产管理系统直接连接。

解决方案:采用基于CPS架构的数据交换接口,实现空调与生产系统智能互联,空调系统数据二次利用。

图片
图片
图片
图片


图片


技术优势


1.可视化数据管理:系统级可视化、项目级可视化、设备级可视化、项目能耗可视化。

根据楼宇、楼层、设备、管道物理空间数据(坐标位置、拐点位置、材质数据等)为驱动,在界面中动态渲染出可视化的物体形状与状态,并结合当前可视化物体的实时运转状态(温度、开关、水流方向等),用户可以更加真实感受到设备在真实环境中的物理状态和实时运转工况。

图片


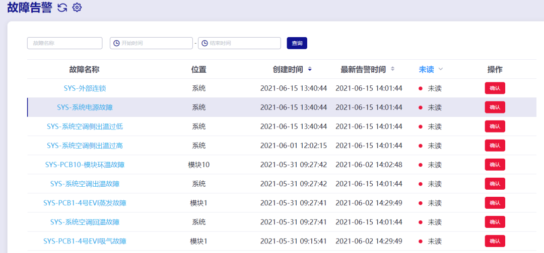
2. 减少成本损失:实时获取告警信息,及时处理避免造成过多损失。

传统空调机组维护需要人工定时巡查,当巡查间隔大时不能及时发现故障信息,缩短巡检间隔又会增加人力成本,所以当机组发生故障造成压缩机停机等情况发生,温度达不到要求,在一段时间后用户才能通过体感判断设备可能出现故障。使用CPS云平台后,用户可通过网页端、APP及短信实时接收告警信息,既降低管理维护人员工作强度又可避免因故障延误处理造成的二次灾害及企业损失

图片


3. 消除故障隐患:工况自动解析,消除故障隐患。

设备在出保修期后更换配件等后期维修成本较高,尤其像压缩机这种核心部件更换费用非常高,常规的巡查保养并不能预防故障的发生,只有在故障发生后才能通过更换配件等方式解决问题。使用CPS云平台后,根据热力学模型分析提前给出预警提醒,提示可能存在的故障隐患,将故障消除在萌芽阶段,降低后期维护成本。例如在制热模式下,翅片温度应低于环境温度,如果翅片温度高于环境温度,系统给出预警提醒,避免因为传感器等小问题引起严重故障。

图片


4.报表电子化:节省人力成本,工作更高效。

考虑到企业人力成本高昂,部分企业仍然存在人工抄表的情况,定期做数据记录,这样既浪费时间而且效率低下。使用CPS云平台后,系统数据实时更新,并可通过excel导出,取代原始纸质记录,更加便捷高效。

图片


5.多终端管理:浏览器+手机APP方式,随时随地了解设备状况。

图片


团队介绍

空调智能控制研究中心



  我院空调智能控制研究中心依托多年引领世界500强IoT开发工作项目的硅谷IoT专职技术力量,以实现商用空调系统的时空全方位测控为主旨,打造空调设备在商业领域的应用集成智能化SAAS级别云平台,致力研发用于提高系统可控性、精准性、节能性的智能化解决方案。通过对空调系统的动力、负载各项参数在时间、空间上的联动关系进行虚拟化、可视化、模型化分析处理,使空调系统中对各项性能指标可能发生直接或间接影响的因素更容易被发现和改良。


©2015 浙江大学滨海产业技术研究院 版权所有 津ICP备15002131号-1      津公网安备12011602300374技术支持:原创先锋
Top